preloader

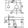
Lennie Wall Mixer with Spout - Brushed Nickel

Price $249

*$25 Delivery Australia Wide

Lennie Wall Mixer with Spout - Brushed Nickel

$249.00

Colour - Brushed Nickel
Warranty - 15 Year replacement Product
Material - High Quality Plated Brass
Installation - Wall mounted for bath or vanity

Includes - Mixer and Spout

Code - IDWS1(BN)

WELS 5 Star 6LPM

Registration

T38429



More Tapware

Browse All Tapware

Some Kind Words From Our Happy Customers

Over 20 Years

Family owned & operated business providing expert advice since 2002

Great Prices

What ever your budget, let us help you today, get the look...for less!

Pickup or Delivery

We offer the convenience of in store pick up, or local delivery, ask us today!

Opening Times

Monday-Friday 9am-5pm
Saturday 9am-4pm
Sunday Closed